2018年, 第39卷, 第12期 刊出日期:2018-12-05
  

  • 全选
    |
    混凝土及组合结构
  • 薛建阳, 翟磊, 贾俊明, 吴琨, 张新, 门博宇
    建筑结构学报. 2018, 39(12): 1-10. https://doi.org/10.14006/j.jzjgxb.2018.12.001
    摘要 ( ) PDF全文 ( )   可视化   收藏
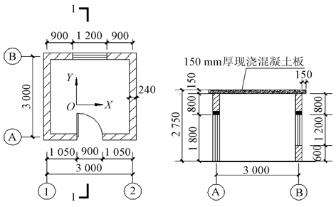
    为研究传统风格建筑钢筋混凝土-钢管混凝土(RC-CFST)组合框架的抗震性能,采用三维六自由度地震模拟振动台对缩尺比为1/4的模型结构进行了El Centro波、Taft波、兰州波及汶川波等地震波输入下的试验。通过白噪声扫描得到了该模型的自振频率、阻尼比等动力特性,研究了模型结构的受力过程、破坏特征及加速度、位移、剪力和应变等动力响应。试验结果表明:随着输入波地震峰值加速度的增加,框架模型的自振频率下降,阻尼比增大,加速度放大系数逐渐减小;柱架是耗散台面地震作用的主要构件;7度罕遇地震作用下结构X、Y向的最大层间位移角分别为1/46、1/51,结构的总体刚度偏小;结构的地震剪力沿模型高度方向没有明显下降的趋势, CFST柱顶部与枋、椽连接区域及柱底为结构的抗震薄弱环节。基于研究结果, 提出了加强该组合框架抗震性能的设计建议。
  • 周绪红, 闫标, 刘界鹏, 甘丹
    建筑结构学报. 2018, 39(12): 11-21. https://doi.org/10.14006/j.jzjgxb.2018.12.002
    摘要 ( ) PDF全文 ( )   可视化   收藏
    与钢管混凝土柱不同,钢管约束钢筋混凝土柱的外包钢管主要用于约束核心混凝土而非承担纵向荷载。相比方形截面柱,圆形截面柱的钢管可为混凝土提供更强的约束,使得圆钢管约束混凝土柱具有更高的承载力和更好的延性。以柱长径比(L/D)、钢管径厚比(D/t)为变化参数,对10根圆钢管约束钢筋混凝土柱的轴压力学性能进行试验研究,并对各试件的破坏模式、承载力及荷载-钢管应力曲线进行对比分析。结果表明:钢管的强约束性仅适用于短柱情况,钢管与混凝土间的黏结摩擦和构件较长导致的稳定问题都会限制钢管约束作用的发挥。在试验研究的基础上,根据有限元参数分析结果,对现有国内外规范中相关计算公式的适用性进行了验证,并建立了考虑钢管约束作用随构件长细比增大而降低的轴压稳定承载力计算式。
  • 刘世明, 刘永健, 李晓克, 陈平祥
    建筑结构学报. 2018, 39(12): 22-28. https://doi.org/10.14006/j.jzjgxb.2018.12.003
    摘要 ( ) PDF全文 ( )   可视化   收藏
    为探明加劲肋类型、开孔钢板(PBL)开孔间距、钢纤维体积掺量、混凝土强度等级等对矩形钢管钢纤维高强混凝土(SFRHC)柱轴压破坏模式的影响规律,对10根柱进行了轴压性能试验,得到了其荷载-压缩变形曲线、位移延性系数、耗能指标和破坏模式。研究结果表明:与PBL加劲试件相比,钢板加劲试件和未加劲试件的位移延性系数分别降低11.9%和10.4%,耗能指标分别降低8.3%和5.6%, PBL加劲肋能有效加强钢管与核心混凝土的组合作用。掺入体积率为0.8%钢纤维的PBL加劲试件,其位移延性系数和耗能指标分别提高12.5%和42.3%,钢纤维体积率为0.8%~1.2%时,试件位移延性系数和耗能指标明显提高。加劲SFRHC柱为肋间管壁局部外鼓破坏,PBL加劲柱的破坏位置均位于PBL开孔处,未加劲SFRHC柱为管壁外鼓破坏,对应钢板屈曲处核心混凝土表现为压碎破坏,钢纤维被整体拔出;加劲SFRHC柱沿高度方向破坏位置明显下移,钢板加劲肋和PBL加劲肋均能有效分担轴向荷载。
  • 王琨, 智海祥, 曹大富, 史高林
    建筑结构学报. 2018, 39(12): 29-38. https://doi.org/10.14006/j.jzjgxb.2018.12.004
    摘要 ( ) PDF全文 ( )   可视化   收藏
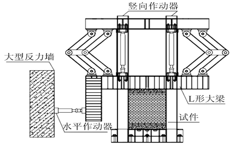
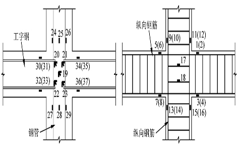
    为研究预应力型钢混凝土梁-钢管混凝土叠合柱框架节点的抗震性能和破坏机理,开展了3个施加预应力及1个未施加预应力型钢混凝土梁-钢管混凝土叠合柱组合框架节点在柱顶水平荷载下的低周往复加载试验,考察了组合框架节点在不同预应力水平和轴压比下的破坏过程及破坏形态,研究了节点的承载力、刚度、延性、耗能能力及变形性能,分析了节点核心区箍筋和钢管、梁端纵筋和型钢翼缘、以及柱端纵筋和钢管的应变变化规律。研究结果表明:预应力节点试件均发生梁端先受弯破坏、核心区后剪切破坏的混合破坏模式,而非预应力节点试件仅发生了梁端弯曲破坏;组合框架节点水平荷载-位移滞回曲线饱满,具有良好的耗能能力和延性;预应力水平的增加能延缓梁受拉区裂缝的产生,并提高了节点试件的水平承载力;轴压比对节点试件水平承载力的影响有限,但会在一定程度上降低节点试件的延性和耗能能力;预应力水平和轴压比的增加均降低了节点核心区的剪切变形。研究结果可为此类新型结构在地震区的推广应用提供技术支撑。
  • 崔明哲, 刘付钧, 樊健生, 聂建国, 李盛勇, 黄忠海
    建筑结构学报. 2018, 39(12): 39-47. https://doi.org/10.14006/j.jzjgxb.2018.12.005
    摘要 ( ) PDF全文 ( )   可视化   收藏
    混凝土剪力墙中采用焊接钢筋网作为水平分布筋和边缘约束构件的箍筋时,其受剪性能目前还缺乏深入的研究。为此,分别对采用通长的完整焊接钢筋网和搭接的焊接钢筋网作为水平分布筋的各2片剪力墙进行了单向加载试验和拟静力加载试验,对比分析了剪力墙的刚度、承载能力、破坏形态和延性等性能以及箍筋应力的发展过程。研究表明:采用完整的焊接钢筋网和搭接焊接钢筋网作为水平分布筋的钢筋混凝土剪力墙的承载力高于按现行GB 50010—2010《混凝土结构设计规范》的公式计算值;配置焊接钢筋网的剪力墙变形能力与已有文献中配置普通箍筋剪力墙的相近;配置完整焊接钢筋网的剪力墙与配置搭接焊接钢筋网的剪力墙相比,两者的承载力和破坏形式基本一致;采用搭接焊接钢筋网的剪力墙,其搭接位置水平筋能达到屈服应变,箍筋性能得到充分发挥,搭接传力性能良好。混凝土剪力墙中采用焊接钢筋网作为水平分布筋和边缘约束构件的箍筋时,其受剪性能达到规范要求,与采用传统绑扎箍筋的构件基本一致。
  • 赵斌, 王庆杨, 吕西林
    建筑结构学报. 2018, 39(12): 48-55. https://doi.org/10.14006/j.jzjgxb.2018.12.006
    摘要 ( ) PDF全文 ( )   可视化   收藏
    提出一种“螺栓-钢连接件-套筒”形式的全装配预制混凝土剪力墙水平接缝方案。为研究该水平接缝的工作性能,设计了普通剪力墙和采用全装配式水平接缝的预制混凝土剪力墙,完成了低周反复静力加载试验,利用有限元方法对其进行数值模拟,分析了全装配式水平接缝方案套筒布置与搭接钢筋直径对墙片水平受剪承载力的影响。研究结果表明:普通墙和预制墙的破坏形式均为受弯破坏,极限位移角相近,分别为1/43和1/45,预制墙水平受剪承载力比普通墙稍高,延性和耗能比普通墙略差。由钢筋破坏形态和应变结果可知,套筒能有效传递钢筋内力,水平接缝为墙片提供了可靠的竖向连接,采用全装配式水平接缝方案的预制混凝土剪力墙总体抗震性能良好。数值模拟结果与试验结果基本吻合,套筒布置与搭接钢筋直径对墙片水平受剪承载力具有明显影响,优化套筒布置与搭接钢筋直径可以进一步提高全装配式墙体的水平受剪承载能力。
  • 成松松, 陈万祥, 郭志昆, 周子欣, 潘建军
    建筑结构学报. 2018, 39(12): 56-65. https://doi.org/10.14006/j.jzjgxb.2018.12.007
    摘要 ( ) PDF全文 ( )   可视化   收藏
    防护工程中的梁板构件受边界约束会在结构内部产生“面力效应”,导致结构承载力提高和破坏模式改变。根据结构的受力特点,设计了一套特殊的边界约束装置,研究竖向荷载作用下轻骨料混凝土梁的受弯性能及面力效应。对3个简支、7个两端约束的轻骨料混凝土梁试件进行了四点弯曲试验,得到了各试件的荷载-挠度曲线、裂缝分布及拉杆拉力-挠度曲线,同时对轻骨料混凝土梁的边界约束、配筋率以及是否掺加纤维对抗弯性能的影响进行分析。结果表明:边界约束越强,面力效应越明显,梁的承载力提高幅度越大;面力效应有效控制了裂缝的产生和发展,提高了构件的极限荷载。
  • 周威, 张文龙
    建筑结构学报. 2018, 39(12): 66-73. https://doi.org/10.14006/j.jzjgxb.2018.12.008
    摘要 ( ) PDF全文 ( )   可视化   收藏
    多层装配式停车楼所需的大跨(18、24m)楼板、屋盖采用预制预应力混凝土双T板拼装连接后形成。由于停车楼的坡道的停(行)车功能使楼盖、楼层存在平面大开洞,削弱了楼板平面刚度,为保证结构整体性和抵抗不同抗震设防水平的地震作用,双T板宜分为无铺装层和设置铺装层两种结构工艺。基于选择截面满足整体楼盖刚度的需求,满足楼盖与坡道停、行车安全性的截面承载力需求,以及构件正常使用条件下严格不出现裂缝的要求,设计制作了标志跨度分别为18、24m的设置铺装层和无铺装层两类预制预应力混凝土双T板结构。以是否设置铺装层为基本因素,采用三分点集中加载方式模拟楼盖附加恒荷载和停、行车可变荷载,完成了4个足尺构件弯曲性能试验。获得了两种足尺构件裂缝开展、刚度和正截面承载力,结果表明,设置铺装面层的双T板延性较好。试验结果还表明所设计的双T板满足装配式停车楼的楼盖与坡道两类极限状态的要求,且试件的失效过程表现出了明显的挠曲变形和裂缝的充分发展等延性破坏特征。研究成果为装配式停车楼的楼盖设计和相关标准制定提供试验支撑。
  • 张森, 熊学玉
    建筑结构学报. 2018, 39(12): 74-80. https://doi.org/10.14006/j.jzjgxb.2018.12.009
    摘要 ( ) PDF全文 ( )   可视化   收藏
    针对有黏结与无黏结混合配置预应力筋混凝土梁的短期刚度问题,采用双直线法推导了混合配置预应力筋混凝土梁短期刚度的计算式。根据ABAQUS有限元软件建立的71根混合配置预应力筋混凝土梁的计算结果,对计算式中刚度计算终点的折减系数β0.5进行多元回归分析,并根据β0.5计算方法的不同,给出了两种计算混合配置预应力筋混凝土梁短期刚度的公式。利用已有文献中的42根无黏结预应力筋混凝土梁和31根有黏结预应力筋混凝土梁的试验数据,对提出的刚度公式进行了验证。试验结果表明:基于有黏结与无黏结混合配置预应力筋混凝土梁的短期刚度计算式,可推广应用于无黏结预应力混凝土梁和有黏结预应力混凝土梁短期刚度的计算。此外,根据收集整理的试验数据对中国GB 50010—2010、美国ACI 318-11和欧洲规范EN 1992-1-1:2004中预应力混凝土受弯构件刚度公式的计算精度进行了分析。
  • 金属结构
  • 童乐为, 霍涛, 侯刚
    建筑结构学报. 2018, 39(12): 81-90. https://doi.org/10.14006/j.jzjgxb.2018.12.010
    摘要 ( ) PDF全文 ( )   可视化   收藏
    为研究冷弯中厚壁矩形管冷弯效应对钢材屈服强度及其他力学性能的影响,对国内现有冷弯中厚壁矩形管的板件试样材性试验和短柱试验数据按照不同截面形式、钢材等级、厂家、厚度及成型方式等进行汇总与分析。提出了适合我国钢材特点与考虑冷弯效应的冷弯中厚壁矩形管屈服强度设计建议公式,将国内外相关规范的考虑冷弯效应的屈服强度计算公式和本文建议公式的计算结果与冷弯中厚壁方(矩)形管短柱试验数据进行对比分析,以验证本文建议公式的适用性。结果表明:按北美规范AISI S100-2007、欧洲规范EN 1993-1-3:2006和加拿大规范CAN3-S136-M84:1984得到的强度计算值相比于个别短柱试验值偏大,我国GB 50018—2002《冷弯薄壁型钢结构技术规范》中的屈服强度计算值相对于采用宝钢和Q345钢材的某些短柱试验值偏大。本文建议公式计算值相对于短柱试验值均偏小且安全,可作为冷弯中厚壁矩形管考虑冷弯效应的强度设计公式。
  • 朱劭骏, 郭小农, 高舒羽, 邹家敏
    建筑结构学报. 2018, 39(12): 91-97+152. https://doi.org/10.14006/j.jzjgxb.2018.12.011
    摘要 ( ) PDF全文 ( )   可视化   收藏
    为获得铝合金板式节点网壳杆件的平面内计算长度,对5根网壳杆件进行轴心受压稳定承载性能试验。采用ABAQUS中的实体单元建立试件的有限元模型,通过反弯点法得出了杆件的计算长度。研究结果表明,铝合金板式节点的半刚性构造使得网壳杆件的平面内计算长度与其净长度有关。基于ANSYS软件平台,采用非线性弹簧单元COMBIN39建立了考虑铝合金板式节点半刚性的网壳模型。通过对不同荷载模式下网壳一阶屈曲荷载及杆件临界荷载的对比,发现压杆周围杆件受压时的刚度退化对其约束的削弱作用可使其计算长度系数放大约33%,因此杆件的受压刚度退化在稳定分析中不可忽略。通过对杆端约束刚度的推导和弹性稳定微分方程的求解,得到了考虑铝合金板式节点半刚性和周围杆件约束的网壳杆件平面内计算长度系数,并制成了供设计使用的计算用表,可为铝合金板式节点网壳杆件的设计提供依据。
  • 郭小农, 黄泽韡, 彭礼, 高舒羽, 曾强
    建筑结构学报. 2018, 39(12): 98-109. https://doi.org/10.14006/j.jzjgxb.2018.12.012
    摘要 ( ) PDF全文 ( )   可视化   收藏
    螺栓球柱节点是一种适用于无檩网架的新型空间结构节点。简要介绍了5个单向受压螺栓球柱节点的试验过程和试验现象;采用有限元软件ABAQUS建立了受压试件的数值模型,将数值分析获得的破坏模式、荷载-位移曲线与试验结果相比较,验证了数值模型的有效性。定义了节点单向受压承载力的取值准则,同时建立了80个节点数值模型对螺栓球柱节点的单向受压承载力影响参数进行了分析。数值分析结果表明:圆柱筒壁直径越小、壁厚越厚、筒壁高度越高,节点的单向受压承载力越高;与节点相连弦杆的截面宽度越大、长度越小,节点承载力越高;在空心圆柱体顶部增设加劲肋可提高螺栓球柱节点的轴向刚度和承载力。基于理论分析,拟合得到了螺栓球柱节点单向受压承载力的实用计算式。拟合计算式计算结果与试验结果的相对差值百分比均在10%以内,具有良好的工程使用价值。
  • 丁阳, 邓恩峰, 宗亮, 戴骁蒙, 娄霓, 陈洋
    建筑结构学报. 2018, 39(12): 110-118. https://doi.org/10.14006/j.jzjgxb.2018.12.013
    摘要 ( ) PDF全文 ( )   可视化   收藏
    为研究模块化集装箱建筑波纹钢板剪力墙抗震性能,根据模块化建筑建造方式设计加载方案,完成了6个足尺波纹钢板剪力墙试件的拟静力试验。试件参数包括波纹板厚度、长度、波纹型式和是否设置竖缝,通过试验研究其抗侧机理、滞回性能、抗侧刚度、延性及耗能能力等抗震性能。结果表明:增加波纹板厚度和长度,均可有效提高试件抗侧刚度和承载能力;波峰高36mm较波峰高20.5mm的波纹板抗侧刚度和屈曲荷载分别增大48.9%和110%,但试件延性有所降低;设置竖缝可使试件破坏模式由整体屈曲转变为剪切屈服,使试件平均能量耗散系数提高12.8%~43.6%,但设置竖缝使试件初始刚度降低48.6%~69.7%。采用CECS 291:2011《波纹腹板钢结构技术规程》中相关规定可以有效预测波纹钢板剪力墙的受剪承载力。
  • 木结构及砌体机构
  • 钟永, 武国芳, 任海青
    建筑结构学报. 2018, 39(12): 119-127. https://doi.org/10.14006/j.jzjgxb.2018.12.014
    摘要 ( ) PDF全文 ( )   可视化   收藏
    我国现行木结构设计规范中缺乏国产规格材的强度设计值取值方法,其强度设计值仅参照方木与原木的设计方法确定。强度设计值取决于木材树种,而与规格材的材质等级、尺寸规格无关。为了合理确定国产规格材的强度设计值,开展了不同等级(Ⅰc、Ⅱc、Ⅲc、Ⅳc)的国产东北落叶松(兴安)规格材的足尺抗弯强度试验研究,并基于一次二阶矩验算点法对其进行了可靠度分析。建议采用前25%抗弯强度数据拟合结果确定的平均值和标准差准确拟合抗弯强度的尾部概率分布,规格材几何尺寸的统计平均值和变异系数设置为1.00和0.05。基于可靠度分析,计算得到了东北落叶松(兴安)规格材在不同数据拟合、短期抗弯强度概率分布、荷载组合类型、荷载比值等条件下的可靠度指标与抗力分项系数之间的变化规律。结合GB 50068—2001《建筑结构设计可靠度统一标准》规定的目标可靠度要求,给出了适于工程应用的规格材受弯构件的抗力分项系数及其对应抗弯强度设计值。
  • 谢启芳, 王龙, 张利朋, 胡卫兵, 钱春宇
    建筑结构学报. 2018, 39(12): 128-138. https://doi.org/10.14006/j.jzjgxb.2018.12.015
    摘要 ( ) PDF全文 ( )   可视化   收藏
    以西安钟楼为研究对象,对其缩尺比例为1∶6的简化模型结构进行了地震模拟振动台试验,得到了模型结构在不同地震波、不同峰值加速度下的加速度响应、位移响应和破坏形态。通过分析各层测点在白噪声激励下的频率响应函数,得到了结构动力特性及其变化规律。基于试验结构模型的动力响应得到了结构剪力分布特征。试验结果表明:模型在经历了强烈地震作用后,破坏主要集中在斗栱和榫卯节点处,梁柱等主要构件未见明显损伤,具有良好的抗震性能;与钢筋混凝土结构和钢结构相比,模型结构的自振频率小、阻尼比大,模型结构震后的1阶频率下降了21%,1阶阻尼比增加了62%;模型各层的动力放大系数基本都小于1,模型具有良好的减震作用;模型的最大层间位移角发生在斗栱层,最大值为1/22,具有良好的变形性能;因为结构的质量和刚度沿高度分布不均匀,层间最大剪力在2层突然减小;在整个试验过程中,结构未发生扭转,有利于结构的抗震。
  • 赵作周, 许松健, 陈俞, 刘辉
    建筑结构学报. 2018, 39(12): 139-146. https://doi.org/10.14006/j.jzjgxb.2018.12.016
    摘要 ( ) PDF全文 ( )   可视化   收藏
    为了检验北京市既有单层大开间砌体砖木结构农宅的抗震加固效果,选取一座北京市既有典型单层四开间砌体砖木结构农宅作为研究对象,制作了1∶2缩比结构模型,模型按照北京市DB11/T 1199—2015《农村既有单层住宅建筑综合改造技术规程》的相关要求,采取增设钢门窗框、钢板圈梁、钢丝网水泥砂浆加固砖柱,以及在房屋四角砖墙、屋架间设置拉杆等抗震加固措施。对加固后结构模型进行了振动台试验,得到模型在不同水平地震波激励下的动力响应与损伤情况。试验研究结果表明:北京既有单层农宅在结构布置上存在沿纵向前后墙抗侧刚度差异大、木屋顶面内刚度小、结构整体性差、屋架抗倒塌能力弱等问题;随着山墙间距的增加,其抗倒塌能力愈弱;采用规程DB11/T 1199—2015建议的抗震加固方法能显著提高前纵墙抗侧刚度与前檐砖柱的变形能力、结构的整体性和屋架的抗地震倒塌能力。加固后结构整体达到“小震不坏、中震可修、大震不倒”的抗震设防目标。
  • 周铁钢, 田鹏, 邓明科, 赵祥, 张浩, 梁增飞
    建筑结构学报. 2018, 39(12): 147-152. https://doi.org/10.14006/j.jzjgxb.2018.12.017
    摘要 ( ) PDF全文 ( )   可视化   收藏
    空斗墙承重民居广泛分布在我国南方农村地区,由于其抗震性能较差,遭遇地震作用时极易发生破坏甚至失稳倒塌。基于实地调查与分析,针对此类民居,考虑风貌保护提出了采用高延性纤维增强水泥基复合材料(ECC)对空斗墙体进行加固的方法。该方法在房屋墙体内侧采用ECC面层加固、外侧采用ECC条带加固。设计并制作了单层足尺房屋模型,对其进行振动台试验研究,分析模型结构的动力特性、加速度放大系数与位移反应以及损伤情况,验证ECC加固空斗墙房屋的有效性。试验结果表明:ECC加固技术能够有效延缓墙体裂缝开展,减小空斗墙承重结构的刚度退化,显著提高了空斗墙体的抗震承载能力与强震作用下房屋的抗倒塌性能。
  • 陈再现, 孙凯林, 栾文芬, 李守恒, 田玉滨, 朱兴吉
    建筑结构学报. 2018, 39(12): 153-158+167. https://doi.org/10.14006/j.jzjgxb.2018.12.018
    摘要 ( ) PDF全文 ( )   可视化   收藏
    针对我国中西部地区既有低强度砖砌体结构,提出了在砌体表面粘贴正交扁钢,而后采用聚合物砂浆抹面的加固方法。该方法通过设置正交扁钢对砖砌体墙体进行约束,以提高墙体的整体性和延性;表面覆盖聚合物砂浆,使聚合物砂浆、钢板与墙体共同工作,进一步提高了墙体的整体性能。为验证所提方法的可行性,完成8片不同砂浆强度等级的足尺墙体的拟静力试验,获得了加固前后的破坏过程及形态、滞回曲线及各项性能指标。试验结果表明,加固后墙体的各项性能指标都有较大改善,极限荷载平均提高90%,位移延性系数提高100%以上,且骨架曲线呈现明显的塑性发展阶段,抑制了墙体的脆性倒塌,有效提高了砖砌体结构的抗震性能。加固前后不同砌筑砂浆强度下的各项力学性能指标比值表明,所提加固方法对不同砌筑砂浆强度墙片的加固效果基本一致。
  • 谢贤鑫, 张令心, 曲哲
    建筑结构学报. 2018, 39(12): 159-167. https://doi.org/10.14006/j.jzjgxb.2018.12.019
    摘要 ( ) PDF全文 ( )   可视化   收藏
    历次地震灾害表明,填充墙的破坏会导致建筑使用功能的丧失和相当程度的经济损失。为了定量评估建筑物的地震损失,针对我国常见的空心砌块、实心砌块和黏土砖等砌体填充墙的修复性,定义了“简单修复”和“不易修复”两个损伤状态。搜集整理了我国填充墙抗震性能试验数据,以其中16个有代表性的、数据相对比较详细的砌体填充墙试件为样本,假设其工程需求参数服从对数正态分布,建立了不同类型砌体填充墙对应于不同损伤状态的易损性曲线,分析比较了砌体填充墙的破坏特征和变形能力。结果表明:在我国抗震规范规定的框架结构弹性层间位移角限值附近,实心和空心砌块填充墙很可能发生严重破坏,并达到“不易修复”状态。与空心和实心砌块填充墙相比,黏土砖填充墙具有更好的变形能力,但是与配筋砌体相比,其变形能力相对较差。
  • 基础理论与共性技术
  • 刘哲锋, 王玉奎, 曹智雄, 陈玉平
    建筑结构学报. 2018, 39(12): 168-177. https://doi.org/10.14006/j.jzjgxb.2018.12.020
    摘要 ( ) PDF全文 ( )   可视化   收藏
    基于9个RC构件在不同变幅历程下的往复加载试验,研究根据刚度损伤指数对不同变幅历程下的损伤过程给出性能划分标准的可能性,并探讨地震持时、峰值位移、配筋量对RC构件损伤发展的影响。研究发现,刚度损伤指数能够对不同变幅历程下的损伤过程给出统一的性能划分标准,提出了对应于5个性能状态(无损、轻度损伤、中度损伤、重度损伤和破坏)的刚度损伤指数区间,并采用PEER数据库中的9个矩形受弯破坏试件对该标准进行了验证;通过将刚度损伤指数与峰值变形指标、Park-Ang损伤指数进行对比,发现刚度损伤指数与峰值变形指标在界定RC构件的轻度损伤时具有较好的一致性,刚度损伤指数与Park-Ang损伤指数在界定RC构件的中、重度损伤时,两者具有较好的一致性;基于算例分析,讨论了刚度损伤指数与配箍率、强震持时、延性系数的相互关系。
  • 许成顺, 刘洪涛, 杜修力
    建筑结构学报. 2018, 39(12): 178-184. https://doi.org/10.14006/j.jzjgxb.2018.12.021
    摘要 ( ) PDF全文 ( )   可视化   收藏
    为研究钢筋套筒灌浆连接接头在地震作用下的连接性能,提高钢筋套筒连接接头的可靠性,设计并制备了钢筋直径25、28mm的钢筋套筒灌浆连接接头,通过高应力反复拉压试验,研究了钢筋套筒灌浆连接接头的破坏形态、连接性能、循环荷载对灌浆料的损伤情况,以及灌浆套筒应变分布等。试验结果表明:钢筋锚固长度约为8倍钢筋直径时,钢筋套筒灌浆连接接头的破坏形态均为钢筋拉断破坏,其强度可等同于同型号钢筋的抗拉强度,但套筒端部的灌浆料损伤严重,其损伤深度约占套筒总长度的8%,接头的屈服位移明显小于同型号钢筋的屈服位移。高应力循环作用对钢筋套筒灌浆连接接头连接性能影响不明显。采用屈服比、强度比、延性比和承载力能力利用比等指标对不同型号的钢筋套筒灌浆连接接头的连接性能进行评价,结果表明:钢筋套筒灌浆连接接头的屈服比和强度比均大于1,延性比均大于4,但是钢筋直径25mm的钢筋套筒灌浆连接接头的承载能力利用比仅为51%,可对其进行优化以降低接头对构件抗震性能的影响。
  • 唐红元, 周祥, 黄靖翔, 周孝军, 汪杰
    建筑结构学报. 2018, 39(12): 185-193. https://doi.org/10.14006/j.jzjgxb.2018.12.022
    摘要 ( ) PDF全文 ( )   可视化   收藏
    不锈钢材料由于其特殊的表面处理工艺,使其与CFRP布的黏结性能有别于普通碳素钢和铝合金。为了研究CFRP-不锈钢的界面黏结性能,共制作了22个CFRP布与不锈钢板复合试件进行拉伸剪切试验。CFRP布的宽度有30、40、50mm三种,CFRP布的粘贴层数分别为1、2、3层,CFRP布与不锈钢的粘贴长度有50、75、100、130、180mm五种,另外,部分试件端部还设置一定长度的CFRP布压条,以考虑压条对CFRP-不锈钢界面黏结性能的影响。试验结果表明,当实际粘贴长度大于有效黏结长度时,试件的极限荷载相对稳定;随着CFRP布宽度的增加,极限荷载呈上升趋势;极限荷载随CFRP布层数的增加呈大幅上升趋势,但层数超过2层后,CFRP布的利用率偏低;端部粘贴CFRP布压条可以提高极限荷载,并且压条越长,对极限荷载的提高幅度越大;CFRP布的粘贴长度、粘贴宽度、粘贴层数对剥离荷载的影响较小,而端部压条锚固对提高试件的剥离荷载效果明显;CFRP布与不锈钢黏结界面的安全系数随着粘贴宽度和层数的增加而增加。最后,通过与CFRP-碳素钢的有效黏结长度对比发现,CFRP-不锈钢的有效黏结长度较大。