2018年, 第39卷, 第03期 刊出日期:2018-03-05
  

  • 全选
    |
    大跨度结构
  • 杨大彬, 吴金志, 王天佳, 胡明娜, 李思遥
    建筑结构学报. 2018, 39(03): 1-11. https://doi.org/10.14006/j.jzjgxb.2018.03.001
    摘要 ( ) PDF全文 ( )   可视化   收藏
    为研究杆件初始缺陷对单层凯威特球面网壳地震响应的影响,利用OpenSEES有限元程序,采用多段梁法模拟杆件初始缺陷,给出了OpenSEES模拟空间网格结构圆管杆件滞回的多段梁法建模参数合理取值,基于GB 50017—2003《钢结构设计规范》中压杆稳定系数拟合了圆管等效偏心率和正则化长细比的关系式。考虑杆件初弯曲方向随机分布,建立了不同参数单层凯威特球面网壳模型,对网壳增量动力分析的最大位移进行了比较。结果表明:当网壳处于弹性状态时,杆件缺陷对其地震响应的影响可以忽略;当网壳进入塑性状态后,杆件缺陷对其地震响应的影响不可忽略,不同杆件初弯曲方向的网壳地震响应离散程度随地震动强度提高基本呈增大趋势;地震动强度较大时,考虑杆件缺陷和结构整体缺陷的单层网壳地震响应和仅考虑整体缺陷的单层网壳地震响应差异较大,两者最大位移的相对大小并无规律性,其关键影响因素为地震作用下塑性杆件分布的离散程度。
  • 阴悦, 胡建辉, 陈务军, 赵兵, 杨德庆
    建筑结构学报. 2018, 39(03): 12-18. https://doi.org/10.14006/j.jzjgxb.2018.03.002
    摘要 ( ) PDF全文 ( )   可视化   收藏
    对基于平面裁切的乙烯-四氟乙烯(ethylene-tetrafluoroethylene,ETFE)气枕进行充气成形试验,利用激光位移计测量气枕矢高,基于三维摄影测量得到的形状,分析了气枕膜面应力分布。采用Peirce模型模拟ETFE膜材的材料力学非线性并进行相同充气过程的数值模拟,对比分析数值模拟与实测的气枕矢高和应力分布。结果表明:Peirce模型仅在反映ETFE两个屈服点之间的应力-应变关系上有所偏差;气枕充气完成后矢高约为172mm,气枕膜面应力最大值集中于气枕中心与各边中点的连线区域;不同内压下的气枕矢高,膜面应力、应变的数值模拟结果与实测结果相对误差均在10%以内。此外,Peirce 模型数值模拟结果表明,内压为2kPa时气枕膜面出现塑性应变;膜面总应变与塑性应变最大值集中于气枕中心与各边中点连线区域。
  • 武岳, 苏岩, 李清朋, 胡庆杰
    建筑结构学报. 2018, 39(03): 19-25. https://doi.org/10.14006/j.jzjgxb.2018.03.003
    摘要 ( ) PDF全文 ( )   可视化   收藏
    数值逆吊找形法是一种生成零弯矩型自由曲面薄壳结构的高效方法。为了解决基于非线性有限元数值逆吊找形法在求解弱刚度结构时收敛性不佳的问题,通过引入向量式有限元法,提出了一种改进的数值逆吊找形方法。该方法采用向量式有限元法求解逆吊结构的平衡构形,并通过局部线性化方法调整柔性索单元的弹性模量,实现对逆吊结构形状的控制。在此基础上,进一步提出了可实现多点精确控制的分步刚化法,解决了复杂形状逆吊结构的找形问题。应用所提方法对Isler设计的某逆吊石膏模型进行数值找形,并将数值找形结果与实际模型扫描结果进行对比,验证了所提方法的正确性和有效性。
  • 彭细荣
    建筑结构学报. 2018, 39(03): 26-31. https://doi.org/10.14006/j.jzjgxb.2018.03.004
    摘要 ( ) PDF全文 ( )   可视化   收藏
    针对概念设计阶段树状结构拓扑创构问题,提出了连续体结构拓扑优化方法。应用连续体结构拓扑优化法,建立体积约束下结构总应变能极小化(即结构总体刚度极大化)的拓扑优化模型,依据单约束优化问题的鞍点条件建立了优化迭代格式。研究了体积比、屋面结构刚度、屋面结构几何形式、设计空间高度等对树状结构拓扑形态的影响,并给出了具体应用算例。结果表明:随着材料用量的增加,树状结构拓扑随之复杂;随着屋面刚度的增加,树状结构分枝趋向于减少;不同的屋面结构几何形式会导致不同的树状结构拓扑形态;满足一定高度后,树状结构分枝形态不会受高度影响,仅是增加主树杆高度。
  • 翁振江, 赵阳, 金跃东, 周观根
    建筑结构学报. 2018, 39(03): 32-38+47. https://doi.org/10.14006/j.jzjgxb.2018.03.005
    摘要 ( ) PDF全文 ( )   可视化   收藏
    空间网格结构装配化发展的关键是装配式节点的研发,国内相关研究起步较晚,亟待更多创新。通过归纳总结网格结构中各种典型的及新发展的装配式节点,分析了其构造特征与现有分类思路,建议研发更完善和实用的分类体系。从节点的功能特性和市场需求出发,针对节点研发提出空间网格结构装配式节点应满足结构适用性、几何适应性、误差容忍性、外观效果和综合经济性要求,并以此为基础,对现有节点的综合性能和推广程度进行分类分析,给出了各类典型节点的定性评价,明确构造组成在节点设计方案中的重要性。通过评价结果与空间网格结构的实际装配化发展水平的对比,印证了所提出的对新型装配式节点性能要求的合理性。总结了网格结构装配式节点发展现状,对其新变化和新趋势进行了展望。
  • 结构抗震及减隔震专题
  • 潘超, 张瑞甫, 罗浩, 逯静洲
    建筑结构学报. 2018, 39(03): 39-47. https://doi.org/10.14006/j.jzjgxb.2018.03.006
    摘要 ( ) PDF全文 ( )   可视化   收藏
    为合理有效地简化金属阻尼器消能减震结构体系的设计,提出了“等阻尼比”的设计原则,在设计性能水准的地震作用下使所有阻尼器自身的等效阻尼比相等,该原则在实际参数设计时可等价于更便于应用的“等延性系数”原则。该原则是一种概念优化设计原则,目的是使所有阻尼器都能充分发挥其阻尼耗能作用,从而以较小的代价来实现预定的减震控制效果。应用该原则可简化等效附加阻尼比的估算,并将金属阻尼器减震体系的刚度参数与阻尼参数进行解耦,使参数的确定过程更简便。基于“等阻尼比”原则,提出了金属阻尼器消能减震体系的实用设计方法,该方法采用以金属阻尼器延性系数和体系刚度特征参数为设计控制参数,以地震作用下层间位移角的性能需求为设计目标,以等效单自由度体系计算位移响应的求解模型。建立了体系等效阻尼比和等效周期的快速估算式,进而给出了两个控制参数的确定方法及阻尼器布置建议。通过对一个钢筋混凝土框架减震结构的设计和性能验算证实了所提方法的可行性与可靠性。
  • 尚守平, 王彦
    建筑结构学报. 2018, 39(03): 48-55. https://doi.org/10.14006/j.jzjgxb.2018.03.007
    摘要 ( ) PDF全文 ( )   可视化   收藏
    以控制结构变形为目标,将上部结构刚度与隔震层刚度的比值定义为隔震刚度比,作为反映上部结构与隔震层协同变形特点的指标。假定上部结构的地震作用沿高度为矩形分布,在一般结构单质点简化方法基础上提出一种隔震结构动力分析的等效简化方法。进一步分析双自由度等效模型的刚度影响和动力特性,以隔震刚度比的形式解释了结构位移需求、位移分配函数以及隔震刚度比对结构抗震性能的影响。基于抗震性能,推导出结构位移需求与周期关系式、临界隔震刚度比表达式、最大和最小隔震刚度比限值表达式。选取不同结构高度、地震烈度、阻尼条件等计算了上部形式为框架、框-剪、剪力墙结构的三类隔震结构在罕遇地震作用下的隔震刚度比限值。结果表明,一般隔震结构的隔震刚度比限值不宜小于4,低多层隔震结构主要由最小隔震刚度比控制,高层隔震结构在特定条件下需要满足最大隔震刚度比限值。计算结果整理成表格可供设计参考。
  • 崔钦淑, 王建东, 郭颜恺
    建筑结构学报. 2018, 39(03): 56-66. https://doi.org/10.14006/j.jzjgxb.2018.03.008
    摘要 ( ) PDF全文 ( )   可视化   收藏
    为了研究高强箍筋约束高强混凝土Z形截面柱框架节点在地震作用下的抗震性能,对缩尺比为1∶2的5榀配置高强箍筋和1榀配置普通强度箍筋的高强混凝土Z形截面柱框架节点试件进行拟静力试验。研究了高强箍筋约束高强混凝土节点的破坏形态、滞回性能、骨架曲线、延性、耗能能力、刚度退化、受剪承载力以及高强箍筋应力发挥水平等。分析了剪压比、轴压比、箍筋的体积配箍率等参数对Z形截面柱框架节点破坏形态、滞回性能和受剪承载力的影响。结果表明:Z形截面柱节点的破坏形态受设计参数的影响,有弯曲破坏和弯剪破坏两类;与普通强度箍筋高强混凝土Z形截面柱框架节点相比,高强箍筋高强混凝土Z形截面柱框架节点在显著提高节点最大剪压比控制值的同时具有优越的抗震性能。给出了高强箍筋应力的取值,采用JGJ 149—2017《混凝土异形柱结构技术规程》公式计算高强箍筋高强混凝土Z形截面柱框架节点的受剪承载力是可行的,将其计算结果与试验结果进行了比较,两者吻合较好。
  • 殷飞, 董宏英, 曹万林, 薛素铎, 乔崎云, 武海鹏
    建筑结构学报. 2018, 39(03): 67-76. https://doi.org/10.14006/j.jzjgxb.2018.03.009
    摘要 ( ) PDF全文 ( )   可视化   收藏
    为研究不同构造的八边形钢管混凝土异形柱抗震性能,设计了4个1/30缩尺试件并进行低周反复荷载试验,从破坏特征、承载能力、滞回性能、刚度、延性以及耗能等方面分析其抗震性能。其中,四种截面构造包括13腔体基本构造、5腔体简化构造、角部角钢加强构造、角部圆钢管加强构造。试验结果表明:八边形异形截面钢管混凝土柱四种截面构造中,角部圆钢管加强试件抗震性能最好,角部角钢加强试件抗震性能其次,5腔体简化型试件和13腔体基本型试件承载力有较大差异,但5腔体简化型试件具有更好的延性,耗能能力差异不显著;试件屈服位移角均值为1/111,破坏时位移角均大于1/37,具有良好的延性。采用条带法计算试件承载力,计算值与试验值吻合良好。
  • 欧智菁, 陈盛富, 吴庆雄, 袁辉辉
    建筑结构学报. 2018, 39(03): 77-83. https://doi.org/10.14006/j.jzjgxb.2018.03.010
    摘要 ( ) PDF全文 ( )   可视化   收藏
    为研究变截面钢管混凝土格构柱的抗震性能,以缀管布置形式和柱肢倾斜度为试验参数,对7根变截面钢管混凝土格构柱进行了水平低周反复荷载试验,分析了该类柱的破坏模式、滞回曲线、骨架曲线、延性、耗能、承载力退化、刚度退化和变形恢复等。研究结果表明:变截面钢管混凝土格构柱试件的破坏形态基本相同,均为整体压弯破坏;滞回曲线较饱满无明显捏缩,具有良好的抗震性能;随着柱肢倾斜度的增大,格构柱的水平承载力和耗能能力有一定程度提高,刚度退化率略有增加。缀管布置形式对格构柱位移延性的影响较大;与平缀管式钢管混凝土格构柱相比,斜缀管式钢管混凝土格构柱的初始刚度和水平峰值荷载明显增大,耗能能力略有降低,承载力退化更为明显。
  • 李兴国, 苗吉军, 周莹萌, 时盼盼, 张伟星
    建筑结构学报. 2018, 39(03): 84-92. https://doi.org/10.14006/j.jzjgxb.2018.03.011
    摘要 ( ) PDF全文 ( )   可视化   收藏
    为研究钢筋锈蚀对高温后钢筋混凝土框架节点承载力及抗震性能的影响,设计了4个钢筋混凝土框架梁-柱节点,通过快速氯离子试验使节点钢筋发生不同程度的锈蚀。对4个节点先后进行1h的火灾试验及低周反复荷载试验,获得节点各截面的温度场分布规律,研究了钢筋锈蚀率对火灾后节点承载能力、刚度、延性、耗能能力等的影响。试验结果表明:随着锈蚀率的增加,节点的承载能力、刚度、耗能能力显著降低;节点的延性整体呈下降趋势,但轻微锈蚀损伤使高温后节点延性略微增加;与未锈蚀节点相比,锈蚀钢筋混凝土节点的屈服荷载降幅为37.93%,极限荷载降幅为28.11%,核心区受剪承载力降幅为35.92%。考虑初始损伤及高温作用对混凝土材料性能的影响,提出了节点核心区受剪承载力计算公式,计算结果与试验结果基本吻合。
  • 混凝土及组合结构
  • 经承贵, 陈宗平, 周山崴, 徐金俊
    建筑结构学报. 2018, 39(03): 93-102. https://doi.org/10.14006/j.jzjgxb.2018.03.012
    摘要 ( ) PDF全文 ( )   可视化   收藏
    为研究方钢管螺旋筋复合约束混凝土轴压短柱破坏机理,完成了12个试件的轴心受压试验。观察了试件外观破坏情况、核心混凝土破坏形态及螺旋筋失效模式,并分析了受力过程中螺旋筋、纵筋、方钢管的应力发展和内力分配情况。试验结果表明:方钢管、螺旋筋、纵筋及核心混凝土四者能协同工作,各种材料强度均能充分发挥;螺旋筋在弹性受力阶段发挥的作用较小,不能延缓方钢管发生局部鼓曲,而主要在弹塑性及流塑阶段发挥约束作用,能显著提高轴压短柱的承载力和变形能力;方钢管和螺旋筋对核心混凝土形成双重约束机制,当方钢管发生鼓曲后螺旋筋能有效补充对核心混凝土的约束作用,进而改善了方钢管对核心混凝土约束不均匀的特性。
  • 侯和涛, 冯明远, 邱灿星, 蓝如海, 曲冰, 王彦明, 田利
    建筑结构学报. 2018, 39(03): 103-110. https://doi.org/10.14006/j.jzjgxb.2018.03.013
    摘要 ( ) PDF全文 ( )   可视化   收藏
    预应力混凝土钢肋叠合板(PCCSSR)是一种抗弯刚度大、承载力高、加工方便的叠合楼板。PCCSSR的预制部分由预应力混凝土底板、钢腹板及混凝土上翼缘板组成。施工中首先将其预制部分作为浇筑叠合层的混凝土模板,承担施工阶段荷载,待叠合层达到强度后再整体受力。对7块足尺PCCSSR试件进行受弯试验,测得了板的荷载-挠度曲线、极限荷载、破坏模态、应变分布等。试验结果表明:PCCSSR的破坏形态为弯曲破坏,其受弯性能完全满足施工阶段要求,且具有较好的延性;与直线形钢腹板相比,波纹钢腹板具有更好的抗剪能力以及平面外刚度,可明显增大PCCSSR的抗弯刚度,使PCCSSR的整体受力性能更为优越。同时,对PCCSSR的抗裂性能、抗弯刚度和承载力进行了理论分析,理论计算结果与试验结果吻合良好。
  • 郑山锁, 李强强, 秦卿, 甘传磊, 刘巍, 董立国
    建筑结构学报. 2018, 39(03): 111-119. https://doi.org/10.14006/j.jzjgxb.2018.03.014
    摘要 ( ) PDF全文 ( )   可视化   收藏
    为研究严寒地区钢筋混凝土剪力墙的力学性能,对经历冻融循环作用的8片低矮钢筋混凝土剪力墙进行了拟静力试验研究。综合考虑冻融循环次数、混凝土抗压强度和轴压比对剪力墙承载力和延性的影响,以动弹性模量定量表征混凝土冻融损伤程度的冻融损伤变量D,建立剪力墙的骨架线特征点荷载(位移)修正系数计算模型。考虑累积损伤效应造成的承载力和刚度退化,引入循环退化指数βi,提出了适用于遭受冻融循环的低矮钢筋混凝土剪力墙的滞回规则,进而建立了考虑冻融循环损伤作用的低矮钢筋混凝土剪力墙恢复力模型。选取4榀经历不同冻融循环次数的低矮钢筋混凝土剪力墙验证该恢复力模型的准确性,计算其滞回曲线和累积滞回耗能值并与试验值进行对比,吻合情况较好。研究所建立的恢复力模型具有较好的精度,可为严寒地区剪力墙结构的弹塑性分析提供理论依据。
  • 基础理论与共性技术
  • 金伟良, 王竹君
    建筑结构学报. 2018, 39(03): 120-129. https://doi.org/10.14006/j.jzjgxb.2018.03.015
    摘要 ( ) PDF全文 ( )   可视化   收藏
    工程结构的绿色设计和绿色评价存在共性,在已建立的可持续发展工程结构全寿命周期设计理论体系基础上,参考国内外的绿色建筑评价体系,根据其共性构建了工程结构全寿命设计的绿色指标体系。该体系包含了三个指标,即以所处环境为对象的“环境评价指标”、以人为对象的“用户及社会满意度指标”和以区域和全球生态系统为对象的“可持续发展指标”。工程结构的全寿命设计传统指标是对现行设计方法的扩展和延伸,而绿色指标则是独立于传统设计方法体系之外的新体系,体现了全寿命设计方法的人文关怀和对自然的责任。为了将工程结构全寿命活动的环境和生态影响控制到最低水平,并使相关人群的利益最大化,通过指标分层、指标分类和权重分析,建立了建筑结构全寿命绿色设计指标体系。针对沿海高速公路桥梁结构的结构形式、用途和所处环境,构建了其全寿命设计绿色指标体系框架。
  • 金辰华, 潘钻峰, 吴畅, 孟少平
    建筑结构学报. 2018, 39(03): 130-138. https://doi.org/10.14006/j.jzjgxb.2018.03.016
    摘要 ( ) PDF全文 ( )   可视化   收藏
    钢筋混凝土剪力墙构件腹板为双向配筋,其剪切刚度的传统计算方法忽略竖向钢筋的作用,低估了剪力墙构件的剪切刚度和受剪承载力。为考虑双向配筋对剪力墙剪切刚度的影响,提出等效斜向腹筋桁架-拱模型,与传统桁架-拱模型不同,模型中桁架作用的腹杆由斜向等效受拉钢筋及斜裂缝间的混凝土斜压杆构成,斜向等效钢筋的方向与裂缝处两个方向钢筋的合力方向一致。采用最小能量原理推导了斜向压杆倾角的理论算式,在已有试验数据的基础上,对压杆角度理论算式进行简化,提出了便于工程应用的简化算式。斜向开裂后剪力墙的有效剪切刚度为斜向腹筋桁架模型剪切刚度与拱模型剪切刚度的叠加,采用该模型分别对现有的剪力墙试件进行计算,并将计算值与实测值进行了比较,结果表明,提出的斜向腹筋桁架-拱模型可以较为准确地计算钢筋混凝土剪力墙构件斜向开裂后的有效剪切刚度。
  • 马昕煦, 王伟, 陈以一
    建筑结构学报. 2018, 39(03): 139-148. https://doi.org/10.14006/j.jzjgxb.2018.03.017
    摘要 ( ) PDF全文 ( )   可视化   收藏
    圆钢管相贯节点焊缝处应力分布难以避免不均匀性,而现行设计规范计算圆钢管相贯节点焊缝强度时未考虑这种不均匀性的影响。通过设计6个X形圆钢管相贯节点试件的支管受拉试验,研究了节点的破坏形态,分析了应力分布的不均匀性对节点焊缝强度的影响。试验结果表明:所设计的相贯节点实现了预期的焊缝断裂破坏模式;焊缝的断裂通常始于鞍点位置;节点应力分布的不均匀性对焊缝强度的影响很大;主管管壁刚度的大小对应力分布的均匀性起着关键作用,当节点外形尺寸保持一致时,主管管壁刚度越小,节点应力分布的不均匀程度越大,焊缝的强度越低;试验中主管管壁刚度最小的节点,其平均焊缝强度尚未达到刚性节点的40.3%;现行设计规范中未考虑圆钢管相贯节点应力分布不均匀性影响的计算方法会导致计算结果偏于不安全。
  • 陈娟, 聂建国, 周成野
    建筑结构学报. 2018, 39(03): 149-157. https://doi.org/10.14006/j.jzjgxb.2018.03.018
    摘要 ( ) PDF全文 ( )   可视化   收藏
    通过对钢管混凝土T形相贯节点的试验和有限元分析,研究了在轴向荷载和平面内弯矩作用下节点的应力集中系数。结果表明:轴向荷载作用下钢管相贯节点的应力集中系数分布不均匀,而钢管混凝土相贯节点分布较均匀,主管内填混凝土有效降低了相贯节点的应力集中系数,同时也将热点的位置由鞍点变为冠点;平面内弯矩作用下钢管相贯节点主管的应力集中系数分布不均匀,而钢管混凝土相贯节点主管分布较均匀,主管内填混凝土有效降低了主管的应力集中系数,两者支管相差不大;主管轴力对节点的应力集中系数影响较大,进行轴向压力和平面内弯矩作用下节点的应力集中系数计算时,应考虑到主管轴压比的影响;现行规范对于钢管相贯节点应力集中系数的计算公式并不适用于钢管混凝土相贯节点。基于强度等效的原则,提出了改进的应力集中系数计算公式,计算结果和试验结果吻合较好。
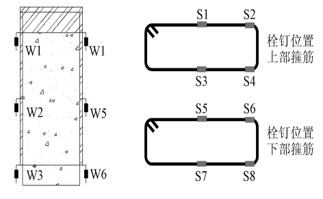
  • 胡夏闽, 张婧, 张冰, 赵庆, 刘加荣
    建筑结构学报. 2018, 39(03): 158-166. https://doi.org/10.14006/j.jzjgxb.2018.03.019
    摘要 ( ) PDF全文 ( )   可视化   收藏
    通过13个在单调荷载作用下H型钢腹板焊接栓钉的部分外包混凝土组合构件的推出试验,对其破坏形态、荷载-滑移特性和纵向剪力传递性能进行了研究,分析了栓钉数量、栓钉直径、栓钉布置方式、型钢翼缘宽度、腹部混凝土箍筋布置方式及加载方式等对受剪承载力的影响。试验结果表明:H型钢腹板焊接栓钉的部分外包混凝土组合构件的主要破坏形态为外包混凝土劈裂破坏和栓钉剪断破坏;典型的荷载-滑移曲线可分为3个特征阶段,分别为无滑移阶段、荷载上升段及荷载下降段;腹部栓钉有效地提高了部分外包混凝土组合构件的纵向受剪承载力,且受剪承载力随栓钉直径的增大和栓钉数量的增加而增大;腹部栓钉纵向布置优于横向布置,栓钉纵向偏心布置对受剪承载力影响较小;宽翼缘型钢能更好地约束腹部混凝土,提高其受剪承载力;腹部箍筋不同布置方式对极限荷载的影响较小;通过分析构件的受力机理和纵向剪力传递模式,提出了H型钢腹板焊接栓钉的部分外包混凝土组合构件纵向受剪承载力算式,计算结果与试验结果吻合较好。
  • 苏小卒, 黄长鑫
    建筑结构学报. 2018, 39(03): 167-174. https://doi.org/10.14006/j.jzjgxb.2018.03.020
    摘要 ( ) PDF全文 ( )   可视化   收藏
    以预应力型钢-混凝土界面为研究对象,旨在建立钢板-混凝土栓钉连接界面黏结滑移的本构关系。研究以混凝土强度、栓钉数量及法向压应力为变量,采用正交试验法对18个钢板-混凝土界面试件进行剪切试验。试验界面取为原型界面足够小的单元,使其能代表该单元内一点处的性能,从而探讨一点处的黏结滑移性能,并得到一点处的黏结应力-滑移关系曲线。结果表明:试验后期均发生栓钉剪断造成黏结应力骤降的破坏。混凝土强度和法向压应力的增加对界面的屈服、峰值和残余黏结应力均有提高作用;栓钉含量对界面的屈服及残余黏结应力影响不大,但可提高界面的峰值黏结应力,还可增大峰值黏结应力点的滑移及残余段初始滑移,提高延性。基于试验结果分别建立了无栓钉、含单栓钉和含双栓钉的钢板-混凝土界面黏结滑移本构模型,统计回归了模型中特征点的应力及滑移等参数的算式。所提模型与试验结果吻合良好,达到了在黏结滑移本构关系中考虑栓钉影响的目的。